Поиск работы по запросу «без опыта оператор станков с ЧПУ» в Челябинске ... формат кадра, система координат, привязки, программирование .
Советы по технике безопасности при эксплуатации станков с ЧПУ; Краткое изложение главы; Вопросы. Глава 4. СТАНОЧНАЯ СИСТЕМА КООРДИНАТ.
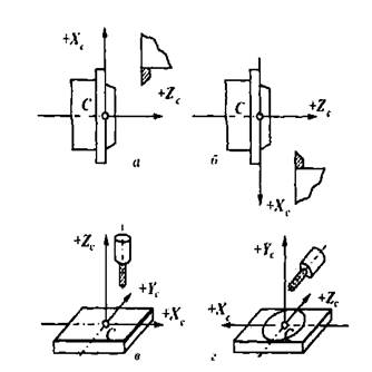
В качестве единой системы координат для всех станков с ЧПУ принята стандартная прямоугольная (правая) система, при которой оси X Y, Z (рис.)
Для обработки заготовок на станках с ЧПУ, также как и на универсальных станках,
Технология программирования и эксплуатация станков с ЧПУ: учебное пособие. Система координат станка с ЧПУ и плоскости программиро- вания .
В таких станках могут использоваться или преднабор координат или Системы управления станков с ЧПУ второго поколения выполнялись на
Регулируемый привод станков с ЧПУ. Привод главного движения. Система координат станка. Системы ЧПУ станков. Классификация УЧПУ по уровню
Координатная система станка. Система координат станка является главной расчетной системой, в рамках которой определяются предельные
инструментальных комплектов в системе координат станков с ЧПУ, являются ... Перемещение измерительных кареток, считывание координат.
Система числового программного управления (СЧПУ) — это. рабочей системы координат детали относительно системы координат станка.
Контрольные вопросы по теме «Введение в ЧПУ». 2 Геометрические основы работы на станках с ЧПУ. 2.1 Системы координат станков с ЧПУ.
На самом же деле контактные измерительные системы могут широкий круг задач, а не только простую привязку детали к системе координат станка. ... Спектр решений: Карманный справочник по датчикам для станков с ЧПУ.
перемещения инструмента в системе ЧПУ . Координаты станка .... ЧПУ. Для станка рабочая система координат включается по номеру ин-.
В станках с ЧПУ обозначение осей координат и направлений движений инструмента относительно системы координат неподвижной заготовки


